Siloz fibra de sticla
 

INFORMATII TEHNICE:

Silozurile Agritech au o constructie usoara din fibra de sticla, totodada masiva facand fata cu brio conditiilor extreme de mediu ca de exemplu: raze solare UV si temperaturi de la - 40 grade Celsius la + 140 grade Celsius. In afara de aceasta silozurile dispun de o izolare, protejand marfa depozitata de umiditate. Durata de viata a acestor silozuri practic este nelimitata, nu se corodeaza si nu necesita cheltuieli de intretinere. Datorita acestor caracteristici se pot utiliza in diverse industrii:

Zootehnica – depozitare furaje.
Alimentara depozitare – fainuri, zahar, produse grisate.
Chimica – depozitare produse chimice de granulatii diverse.

 
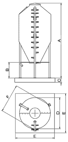
Capacitate
Numar de
Dimensiuni (mm)
Greutate
Model
(m³ )
t
picioare
A
B
C
D
E
F
(kg)
SIV.04
4
2,4
3
3870
1050
200
1500
2500
1300
221
SIV.06
6
3,6
3
4200
1050
200
2030
2500
1860
270
SIV.08
8
4,8
3
4820
1050
250
2030
2500
1860
298
SIV.10
10
6
3
5100
1050
300
2220
2800
2030
346
SIV.12
12,5
7,5
3
5650
1050
300
2220
2800
2030
408
SIV.15
15
9
3
5720
1050
300
2350
3000
2140
475
SIV.18
18
10,8
4
6680
1050
300
2350
3000
1750
525
SIV.20
20
12
4
6950
1050
300
2480
3000
1855
600
SIV.26
26
15,6
4
7650
1050
400
2610
3000
1945
787
SIV.31
31
18,6
4
8560
1050
400
2610
3000
1965
1024
SIV.40
40
24
4
8580
1050
500
3000
3500
2270
1151
SIV.52
52
31,2
4
10260
1050
500
3000
3500
2270
1456
                     
                     
                     
                     
                     
 

TIPURI DE CON INFERIOR :

Partea inferioara a silozurilor – con inferior – fiind de mai multe tipuri , devine posibila evacuarea materialului din siloz prin sisteme automate, semi automate sau manuale. Mai jos va prezentam cele mai folosite conuri inferioare.

Mod.30K
Mod.32
Mod.34
Mod.36
Reductie poliester 780-450mm, pentru sistem de evacuare cu spirala Reductie poliester cu sibar manual 780-450mm Con inferior pentru sistem de evacuare cu snec cu inclinatia de 15°-45°. Con inferior pentru sistem de evacuare cu snec cu inclinatia de 30°-60°.
Mod. 37
M42SP
Con inferior pentru sistem de evacuare cu snec cu inclinatia de 45°-60°. Con inferior pentru sistem de evacuare cu snec de diam. Ø260 mm

UMPLEREA SI GOLIREA :

Umplerea silozurilor se face in doua moduri: mecanic si pneumatic. Umplerea mecanica se realizeaza prin nisa superioara a silozului. Cel mai adesea silozul se umple cu snecuri de transport orintate desupra nisei superioare , de unde cade gravitational in interiorul silozului. Mai sunt cazuri in care umplerea se face de sus in jos prin tubulaturi.

Umplerea pneumatica a silozului se realizeaza prin tubul de incarcare cu ajutorul fluxului de aer. Cel mai adesea intalnite sunt remorcile de transport tip cisterna cu compresor. In unele cazuri se por gasi si alte alternative de umplere pneumatica. Punctul slab al acestui sistem se observa atunci cand se umple cu un material cu densitati si granulatii diferite, acestea se pot desegrega, omogenitatea materialului putand fi compromisa. In acest caz va recomandam umplerea cu ajutorul snecurilor de transport sau a remorcilor de transport cu umplere prin snec

GOLOREA SILOZURILOR - se face exclusiv mecanic, golirea materialului din siloz se face cu ajutorul:

- snecurilor melcate de transport,snecurilor cu spirala, tuburi transport cu lant.

- la o diferenta de nivel optim si cu tubulaturi de scurgere

- sibarului manual pentru umplerea sacilor.

Pretul de cumparare include urmatoarele:

- Peretii din fibra de sticla ai silozului perforati vertical, in culoarea alba
- Una din picioarele silozului permite umplerea pneumatica a silozului prin tub diam: 89, 102 sau 114 mm
- Prin celelalte picioare se permite evacuarea aerului la umplerea pneumatica
- Scara exterioara cu grilaj de protectie permite accesul la capacul silozului.
- Capacul de sus al silozului este rabatabil si se poate monta si cu manevrare de la sol.
- Partea de jos al silozului este de mai multe tipuri: 32, 30K, 30X, 34 sau mod 36.
- Contine o sectiune verticala transparenta pentru controlul nivelulul de material din siloz.
- piese si material pentru etanseizare necesare asamblarii silozului
- ghid de asamlare si utilizare.

Transportul se efectueaza cu camionul sau in containere

- Silozurile Agritech se pot transporta intr-un numar mare, chiar se 25-27 bucati deodata.
- Peretii silosului au intarituri cu fibra de sticla prin aceasta marind rezistenta la presiune. In comparatie cu silozurile din tabla care chiar si dupa un an pot sa se deformeze, silozurile din fibra de sticla isi pastreaza in timp forma initiala.
- Pentru toate modelele de silozuri acordam garantie de 11 ani.
- Suruburile si piesele necesare montajului sunt zincate, astfel ele nu se corodeaza niciodata.

Copyright © 2013 AGRITECH SLOVAKIA - Created by 2FISH